:
Sony, ever the pioneer, is toying with a future where any game can be flipped into “kid-friendly” mode on demand, and an AI system is holding the scissors. A newly surfaced patent outlines tech that can automatically spot, censor, or even replace problematic content in real time, turning mature scenes into PG experiences without the developer manually building a family-friendly version of the game.
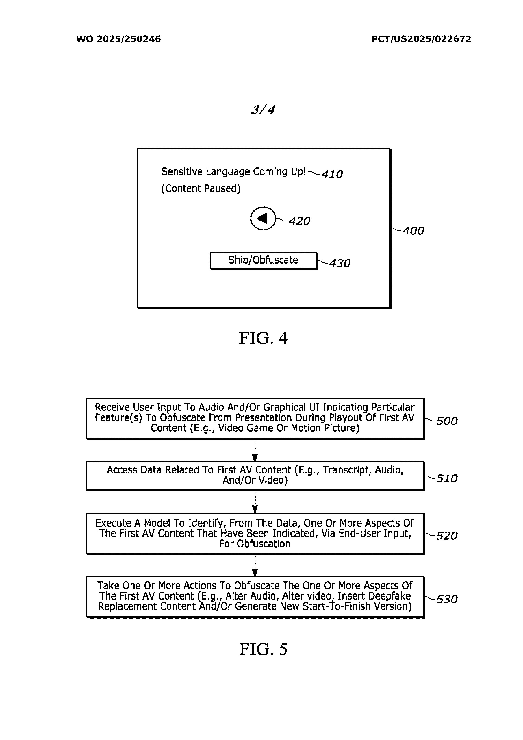
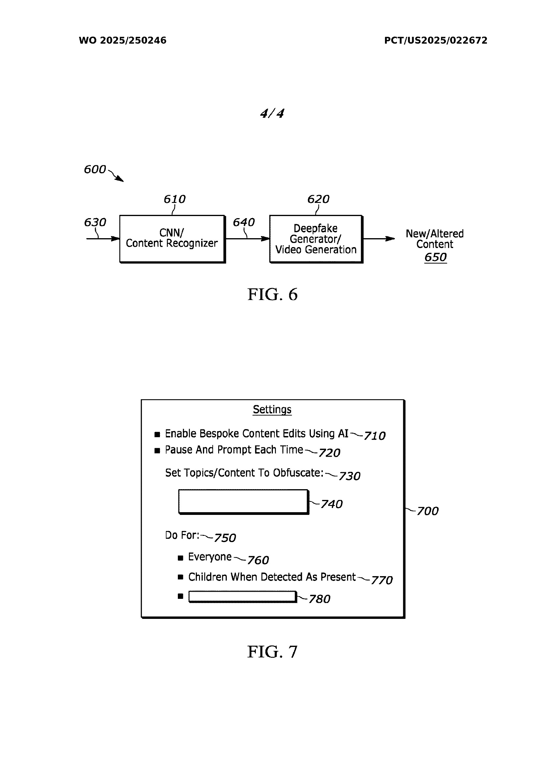
At the core is an AI that analyzes what is happening on screen, violence, gore, sexual content, profanity, or other sensitive material, and then dynamically intervenes. Instead of a fixed content filter, this system responds to what the player is actually seeing or hearing at that moment.
The patent describes the AI muting dialogue, blurring or masking visual elements, or outright swapping assets like blood effects, animations, or character models to make scenes less intense. Because the system is rules-based, parents or guardians could pick from preset profiles or define their own boundaries for what is acceptable.
This goes several steps beyond classic platform-level parental controls that just block entire games or enforce age ratings. Instead of saying “no” to a title entirely, the AI tries to reshape it so it can still be played, just sanitized. In theory, that could let one copy of a game work for both adults and kids in the same household, with the content adapting per user account.
The system is also pitched as platform-agnostic, meaning it could operate across different devices and services, not just a single console generation. That raises the possibility of AI censorship baked into cloud gaming, streaming, or future subscription platforms, where content is filtered in real time at the service level.
On paper, the idea sounds convenient for families, but it also opens a huge can of worms around creative intent and control. If a platform owner can algorithmically redact scenes, tone, and themes, it effectively gains a new level of editorial power over games that were not designed to be altered this way.
There are also obvious questions around accuracy and bias: what the AI flags as “unsafe,” how often it misfires, and whether developers or players get any say beyond whatever presets the platform offers. For now, this is only a patent, but it gives a pretty clear window into how aggressively Sony is thinking about using AI to reshape what players actually see on screen.
Source: Clawsome Gaming
What did you think of this article? Let us know in the comments below, and chat with us in our Discord!
This page may contain affiliate links, by purchasing something through a link, Retro Handhelds may earn a small commission on the sale at no additional cost to you.





